Oppsett - slik setter du opp kiosken
đŠ FĂžr Oppstart
Kiosken mÄ settes opp pÄ et sted med:
Tilgang til strĂžm (maks 1,5m fra kiosk)
Mobildekning
â
NÄr kiosken er klar til permanent plassering
Plassering av kiosken
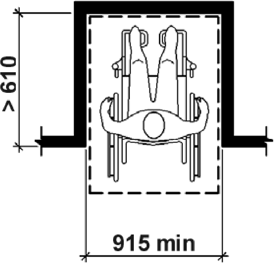
For at kiosken skal vĂŠre tilgjengelig og brukervennlig for alle, anbefales det at den plasseres i henhold til gjeldende krav for manĂžvreringsrom:
Forlengs atkomstDersom kiosken er plassert i et avlukke som er dypere enn 610 mm og brukere mÄ gÄ rett inn foran kiosken, bÞr det vÊre minst 915 mm bredde pÄ tilgangsomrÄdet foran kiosken.

Sidelengs atkomstDersom kiosken er plassert i et avlukke som er dypere enn 380 mm og brukere skal kunne gÄ sidelengs inn til kiosken, bÞr det vÊre minst 1 525 mm bredde pÄ tilgangsomrÄdet.

Koble til strĂžm ved Ă„ sette i stĂžpselet.
Trykk pĂ„ power-knappen pĂ„ tableten og hold inne knappen i 4â5 sekunder, til skjermen pĂ„ tableten slĂ„r seg pĂ„.

Oppstart av tablet og applikasjon vil ta noen minutter, i mellomtiden kan det vĂŠre en âUte av driftâ melding pĂ„ skjermen. LĂžsningen er klar nĂ„r skjermen viser âBetal herâ.
Om kiosk ikke skal brukes pÄ en stund eller strÞmkabel trekkes ut, mÄ tablet ogsÄ slÄs av ved Ä holde inn power-knappen pÄ tableten og velge slÄ av pÄ skjermen.